First Idea and model since 1988
Alan Mattano 2003 Drawings, sketches and renders.
Patent N°: TO2004A000061
"Is my idea to put auto stability in windserfing. A auto stable windsurf sail with Flap and auto stabilizer concave convez airfoil profile, for more range of use. "AlanMattano
Introducing a NewProduct
windsurf sail with auto stable profile.
windsurf sail with auto stable profile.
Alan Mattano 2003 invention: Patent N°: TO2004A000061 Auto Stable Sail . I'm Autor of NeilPryde concept and now product.
Originaly Think for a formula and speed recods name was RSX.Alan Mattano
I wish to thanks NeilPryde.
Originaly Think for a formula and speed recods name was RSX.Alan Mattano
I wish to thanks NeilPryde.
Inspired by my father's flying wing.
Back in the 80 i experiment autostability in my hand made scale gliders toys.
In the 87-88 i was 15yr old my first autostable sail concept in a "artepovera" style model. Soon later a sailbout was made with this primitive idea, after talking about it.
In the 90 I introduce the concept pushing it in windsurfing segment with no results, pushing for "S" shape concave convex air foils in the sails and in the scoop rock of the boards still with no results in the mind of the shapers.
The evolution pick very slow more in the kite segment because of a natural evolution and because is part of an evolution that cams from other segment; hang glider then paraglider finally kite sail.
I test auto-stability adding much more twist in my sails creating a bad angle and folding the mylar, for not nice flat surface between battens and it work ! Now we all use a lot of twist in the sails and windsurfers do not know the real reasons of it (is not only for to reduce the induce resistance and compensation of speed in alt. At the end of 90 i push harder in the formula segment explaning the flap and S shapes reasons in sails with no results.
Back in the 80 i experiment autostability in my hand made scale gliders toys.
In the 87-88 i was 15yr old my first autostable sail concept in a "artepovera" style model. Soon later a sailbout was made with this primitive idea, after talking about it.
In the 90 I introduce the concept pushing it in windsurfing segment with no results, pushing for "S" shape concave convex air foils in the sails and in the scoop rock of the boards still with no results in the mind of the shapers.
The evolution pick very slow more in the kite segment because of a natural evolution and because is part of an evolution that cams from other segment; hang glider then paraglider finally kite sail.
I test auto-stability adding much more twist in my sails creating a bad angle and folding the mylar, for not nice flat surface between battens and it work ! Now we all use a lot of twist in the sails and windsurfers do not know the real reasons of it (is not only for to reduce the induce resistance and compensation of speed in alt. At the end of 90 i push harder in the formula segment explaning the flap and S shapes reasons in sails with no results.
Long-term Goal
The intended goal is to produce and sell this new sail concept worldwide.
The intended goal is to produce and sell this new sail concept worldwide.
Alan Mattano Turin Italy 2002-2004:
Patent N°: TO2004A000061 Auto Stable Sail Patent
New sail name : Atostable Sail ALADA
Hydroptere evolution for making wold reconds.
More info (airfoils profiles, etc) contact me
Patent N°: TO2004A000061 Auto Stable Sail Patent
New sail name : Atostable Sail ALADA
Hydroptere evolution for making wold reconds.
More info (airfoils profiles, etc) contact me
This 2002-2003 (25/08/2003) drawings for windsurfing are just an evolution of my idea and concept of puting a
Flap to make an s shape corde Autostable airfoil and Sail (sail flap stabiliser). This will improve profile stability and power range. For example if you have a 6m 2 with flap, you will get the power of a 7m . If there is too much wind you can apply negative flap and you will get the feeling of a 5m.
If you have a 8m , with flap you will get a 10m and with flap negative a 6m. You can get a 14m power with a 10m sail. This is because a normal profil is working at 0.8 Cl and with flap you can get 1.4 of Lift Coefficient.
Customer Wishes
The customer needs a lot of sails to coverwind range.
They wishes to have a sail that covers thebiggest wind rang as possible.
They want to be more faster on water.
They need more control on the sail whenthe wind improves
They wishes cheaper sails.
The customer needs a lot of sails to coverwind range.
They wishes to have a sail that covers thebiggest wind rang as possible.
They want to be more faster on water.
They need more control on the sail whenthe wind improves
They wishes cheaper sails.
Alan Mattano 26 / 08 / 2003 PARIS invention: Patent N°: TO2004A000061 Auto Stable Sail . I'm Autor of Auto Stable concept and now product.
Originaly Think sketches and concepts for a formula and speed recods name was RSX. Now Neil Pryde is making this product. Thanks NeilPryde!
Originaly Think sketches and concepts for a formula and speed recods name was RSX. Now Neil Pryde is making this product. Thanks NeilPryde!
Alan Mattano 26 / 08 / 2003 for PARIS presentation invention: Patent N°: TO2004A000061 Auto Stable Sail . I'm Autor of Auto Stable concept and now product.
Final presentation of the concept sketch and render. F or a formula and speed recods name was RSX. Now Neil Pryde is making this product. Thanks NeilPryde!
Final presentation of the concept sketch and render. F or a formula and speed recods name was RSX. Now Neil Pryde is making this product. Thanks NeilPryde!
Fulfilling Customer Needs
With small modifications on the battensyou can obtain a flap or an auto stable profile.
We don't need to many rigid battens.
We don't need to use so much carbon onit.
The sails will be more light
This combination creates a bigger wind rang sail.
Less expensive.
With small modifications on the battensyou can obtain a flap or an auto stable profile.
We don't need to many rigid battens.
We don't need to use so much carbon onit.
The sails will be more light
This combination creates a bigger wind rang sail.
Less expensive.
AlanMattano AutoSatableSail 2003 Milan
Patent 2004
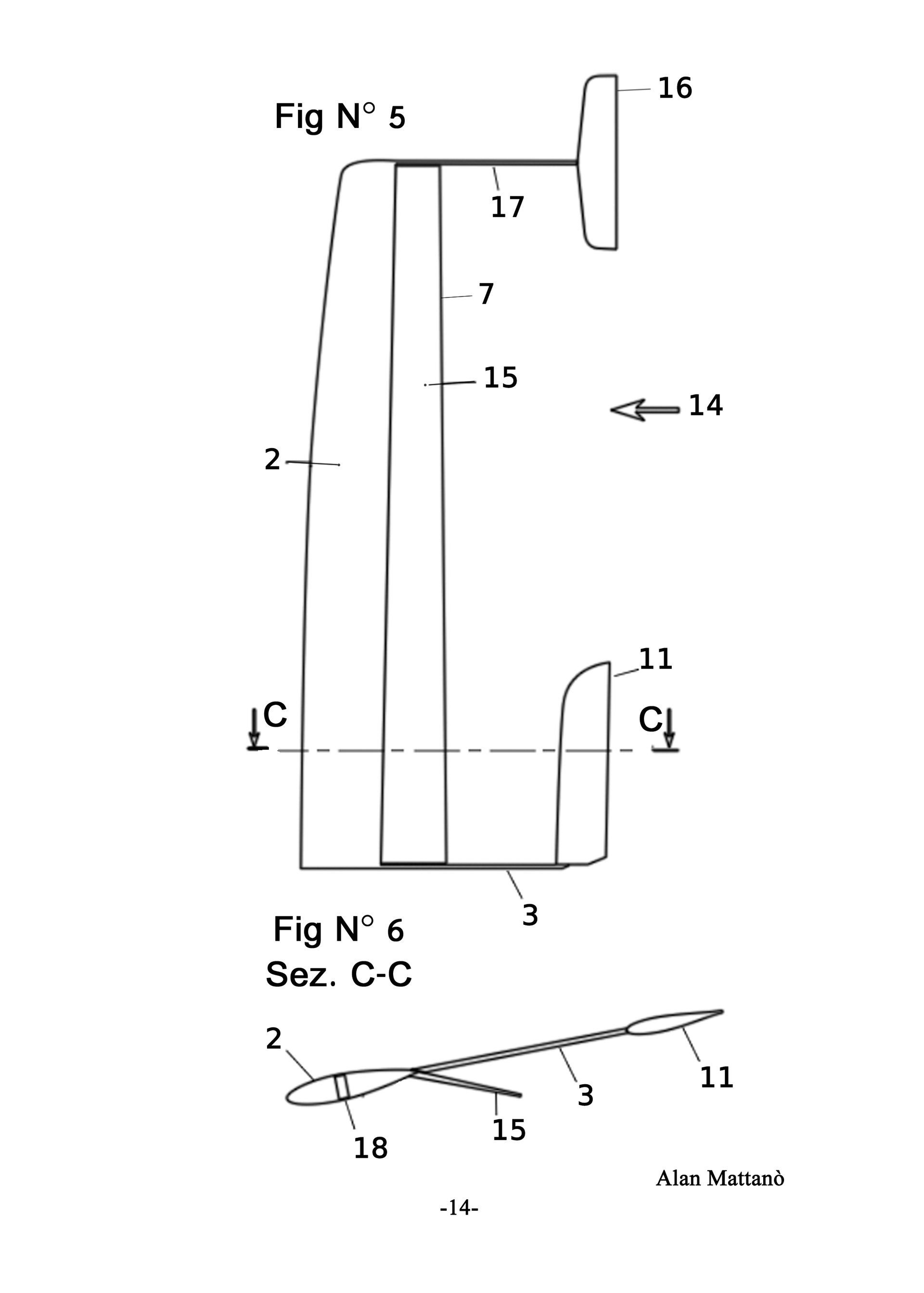
Explanation Patent Auto stable Sail drowing
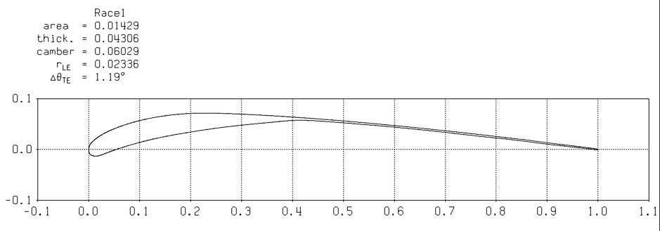
Alan Mattano AM-0303 RACE1 Windsurf SpeedRace Airfoil.
Alan Mattano Virtual tunnel research
Virtual wind tunnel Low Re n Airfoil Profile example with flap 20% +10° for flap low wind powe , -10° foe autostability Coef.moment = 0
Virtual wind tunnel Low Re n Airfoil Profile example with flap 20% +10° for flap low wind powe , -10° foe autostability Coef.moment = 0
Vector explanation drawings
v2 > v1
Windsurf flap system sail and autostable over power controll invention.
AM0303 AlanMattano sketch 29-09-2003 Turin Italy
AM0303 AlanMattano sketch 29-09-2003 Turin Italy
PROJECT AM0303 AlanMattano italia 2003 in data order
First drawing
First drawing
AM0303 Alan Mattano Italy 25.08.2003
first drawing explanation sail
+ turbulator concept
+ Big number extension info
+ fast zip flap extention
+ riguide sail
+ batten at the end
+ Induce recistence riducction with winglets
+ name change concept form bad to good
+ HighAspect ration
first drawing explanation sail
+ turbulator concept
+ Big number extension info
+ fast zip flap extention
+ riguide sail
+ batten at the end
+ Induce recistence riducction with winglets
+ name change concept form bad to good
+ HighAspect ration
AM0303 Alan Mattano Italy 26_08_2003 2vela autoestable
Cost Analysis
The financial advantages for the customerare that they doesn't need to buy lots ofsails.
The aerodynamic quality improves theglobal quality of the product, the cost willby very similar compare the price withthose of the competition.
This sails doesn't need to have so expensive battens.
With few battens we can make a cheapstable sail.
The financial advantages for the customerare that they doesn't need to buy lots ofsails.
The aerodynamic quality improves theglobal quality of the product, the cost willby very similar compare the price withthose of the competition.
This sails doesn't need to have so expensive battens.
With few battens we can make a cheapstable sail.
AM0303 Alan Mattano Italy 26_08_2003 3vela autoestable
+ Turbulator concept + riguide sail flap
+ Turbulator concept + riguide sail flap
Strengths and Advantages
This system improves the product in a natural way.
It makes the new product special buy performance and not only buy style.
Gives advantages on Formula using biggersails.
Using the flap we obtain more power at lowend speed.
Gives control at top speed for new speedrecords
We can build a cheaper sail very stable.
This system improves the product in a natural way.
It makes the new product special buy performance and not only buy style.
Gives advantages on Formula using biggersails.
Using the flap we obtain more power at lowend speed.
Gives control at top speed for new speedrecords
We can build a cheaper sail very stable.
AM0303 Alan Mattano Italy domingo, 19 de octubre de 2003 RS-Z autoestable
Next Steps of Action
The next steps that now we need to do isto make a first prototype.
It can be by the modification of a spiritadding a rigid peace; not having a flapbut only a semi stable profile.
By the modification's of a RS buy addingthe flap and a new rope system
Or building a new 14 square meter forformula races.
The next steps that now we need to do isto make a first prototype.
It can be by the modification of a spiritadding a rigid peace; not having a flapbut only a semi stable profile.
By the modification's of a RS buy addingthe flap and a new rope system
Or building a new 14 square meter forformula races.
AM0303 Alan Mattano Italy domingo, 18 de octubre de 2003
AM0303 Alan Mattano Italy domingo, 18 de octubre de 2003 ="">
AM0303 Alan Mattano Italy domingo, 18 de octubre de 2003 ="">
AM0303 Alan Mattano Italy domingo, 18 de octubre de 2003 ="">
AM0303 Alan Mattano Italy domingo, 18 de octubre de 2003 ="">
AM0303 Alan Mattano Italy domingo, 18 de octubre de 2003 ="">
AM0303 Alan Mattano Italy domingo, 19 de octubre de 2003 ="">
AM0303 Alan Mattano Italy domingo, 19 de octubre de 2003
="">
="">
AM0303 Alan Mattano Italy domingo, 19 de octubre de 2003
+ battens configuration form making big s shapes in the mylar panals
+ battens configuration form making big s shapes in the mylar panals
AM0303 Alan Mattano 3d and render Italy domingo, 21 de octubre de 2003
+ soft mast front protection ="">
+ soft mast front protection ="">
AM0303 Alan Mattano Italy domingo, 01 10 2003 ="">
AM0303 Alan Mattano Italy domingo, 05 10 2003
Render: Dan Mattano
+ Winglet for reducing induce drag
+ Rigid flap panel ="">
Render: Dan Mattano
+ Winglet for reducing induce drag
+ Rigid flap panel ="">
AM0303 Alan Mattano Italy 2003 Rs-5
AM0303 Alan Mattano Italy 2003 Rs-Blu 1
AM0303 Alan Mattano Italy 2003 RSpeed
+ Canard aleron in the board pushing down
+ Casco Aerodinamico para windsurf
+ Canard aleron in the board pushing down
+ Casco Aerodinamico para windsurf